Оборудование
Оборудование
Принципиально сварку трением можно вести на любом металлорежущем станке, имеющем патрон на вращающемся шпинделе для закрепления одной из свариваемых деталей и место для установки второй детали (токарный, фрезерный, расточной, сверлильный и т. п. станки), однако попытки использования металлорежущих станков для сварки трением приводят, как правило, к их быстрому износу; эти станки не рассчитаны на режимы, свойственные сварке трением; выходят из строя подшипниковые группы станков, ломаются станины.
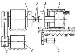
Для сварки трением необходимо использовать специальные машины. Принципиальная кинематическая схема такой машины показана на рис. 1. Машина снабжена схемой управления, связывающей работу всех ее узлов в единый цикл.
Большинство действующих в настоящее время машин для сварки трением представляют собой полуавтоматы, которые весь этот цикл выполняют автоматически, и лишь укладка свариваемых заготовок в зажимы машины и извлечение сваренной детали в них выполняются вручную. В крупных машинах, предназначенных для сварки тяжелых деталей, вспомогательные операции обычно механизированы. За последние годы в ряде стран стали появляться машины-автоматы с полностью автоматизированным (включая и вспомогательные операции) циклом работы.

Рис. 1. - Принципиальная кинематическая схема машины для сварки трением:
1 и 3 — зажимы; 2 — заготовки; 4 — силовой привод; 5 — механизм установочного перемещения заготовок до упора; 6 — двигатель; 7 — привод вращения
До начала 70-х годов XX в. почти все машины для сварки трением были универсальными и рассчитаны на сварку большого числа различных по форме и размерам деталей. В настоящее время наметилась тенденция создания специализированного оборудования для сварки трением; в этом случае каждая машина предназначена для сварки какой-либо одной или группы однотипных деталей. Такие машины более высокопроизводительны и в подавляющем большинстве работают в полностью автоматизированном цикле. Начинают находить применение комплексные механизированные и автоматические линии, построенные на базе машин для сварки трением и выполняющие как операции сварки, так и ряд смежных операций — механическую обработку до сварки, снятие грата после сварки и даже иногда контроль качества выполненного соединения. Эти наиболее высокопроизводительные агрегаты весьма перспективны и в ближайшие годы найдут широкое применение.
Тем не менее простые, дешевые и удобные в эксплуатации машины универсального применения хотя и не отличаются высокой производительностью, до настоящего времени успешно применяются при выполнении ремонтных работ, а также в небольших производственных цехах с развитым ассортиментом обрабатываемых деталей.
- Войдите или зарегистрируйтесь, чтобы получить возможность отправлять комментарии