ЭЛЕКТРОШЛАКОВАЯ СВАРКА ПЛАСТИНЧАТЫМИ ЭЛЕКТРОДАМИ
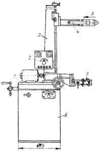
ЭЛЕКТРОШЛАКОВАЯ СВАРКА ПЛАСТИНЧАТЫМИ ЭЛЕКТРОДАМИ, сварка электродами большого сечения — электрошлаковая сварка, характеризуемая использованием в качестве электродов пластин большого сечения, соизмеримого с размерами зазора. Обычно для равномерной загрузки трех фаз переменного тока применяется сварка тремя пластинчатыми электродами. Аппараты для электрошлаковой сварки пластинчатыми электродами не имеют механизма перемещения и предназначены только для подачи в зону сварки пластин по мере их расплавления. Поэтому такие аппараты обычно оформляются конструктивно в виде станков. На рис. 1 дана схема электрошлаковой сварки тремя пластинчатыми электродами. На рис. 2 показан общий вид станка: 1 — суппорт настройки; 2 — пульт управления; 3 — стойка; 4 — держатель электрода; 5 — скользящий контакт; 6 — станина.

Рис. 1.

Рис. 2.
- Войдите или зарегистрируйтесь, чтобы получить возможность отправлять комментарии