ШТИФТОВАЯ УЛЬТРАЗВУКОВАЯ СВАРКА
2016-08-25
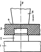
ШТИФТОВАЯ УЛЬТРАЗВУКОВАЯ СВАРКА — ультразвуковая сварка с запрессовкой, при которой штифт, оформленный на одной из деталей, запрессовывается в отверстие, оформленное на другой детали (рис. 1, 2).

Рис. 1. Схема штифтовой ультразвуковой сварки:
1 — деталь со штифтом; 2— штифт; 3 — деталь с отверстием; 4— отверстие; 5 — волновод.

Рис. 2. Сварное изделие, выполненное штифтовой ультразвуковой сваркой.
rss
- Войдите или зарегистрируйтесь, чтобы получить возможность отправлять комментарии