ШОВОФОРМУЮЩИЙ УЗЕЛ
2016-08-23
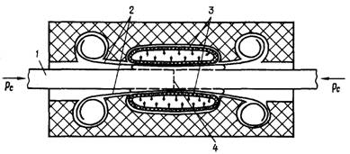
ШОВОФОРМУЮЩИЙ УЗЕЛ — узел в сварочной установке для сварки с обжатием шва, имеющий полость с упругими элементами, которые осуществляют обжатие зоны шва во время образования сварного соединения (см. рис.).

Рис. Схема шовоформующего узла сварочной установки:
1 — свариваемые детали; 2 — упругие элементы; 3 — камера обжатия; 4 — сварной шов (Pс — давление при сварке).
rss
- Войдите или зарегистрируйтесь, чтобы получить возможность отправлять комментарии