НАГРЕВАТЕЛЬНЫЙ ИНСТРУМЕНТ ДЛЯ СВАРКИ ВРАСТРУБ
2017-09-11
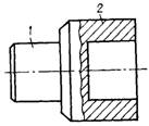
НАГРЕВАТЕЛЬНЫЙ ИНСТРУМЕНТ ДЛЯ СВАРКИ ВРАСТРУБ — нагревательный инструмент, включающий в себя дорн для оплавления и нагрева внутренней поверхности раструба муфты или трубы и гильзу для оплавления и нагрева внешней поверхности трубы (см. рис.).

Рис. Нагревательный инструмент для сварки враструб:
1 — дорн; 2 — гильза.
rss
- Войдите или зарегистрируйтесь, чтобы получить возможность отправлять комментарии