ИСПЫТАНИЕ НА ИЗГИБ
2018-02-24
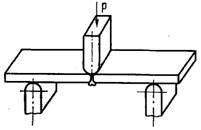
ИСПЫТАНИЕ НА ИЗГИБ — определение пластичности материалов по его способности принимать заданный угол изгиба под действием статической нагрузки. И. н. и. сварных и клеевых соединений проводят по схеме (см. рис.). Пластичность стыковых сварных соединений определяют по углу изгиба образца, при котором появляется трещина (см. Механические испытания соединения).

Рис. Испытания на изгиб.
rss
- Войдите или зарегистрируйтесь, чтобы получить возможность отправлять комментарии