ИНСТРУМЕНТ С ЛУЧЕВЫМ ОБОГРЕВОМ
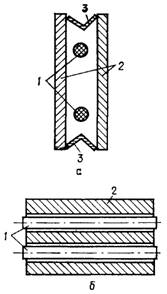
ИНСТРУМЕНТ С ЛУЧЕВЫМ ОБОГРЕВОМ — нагревательный инструмент, нагреваемый с помощью инфракрасного излучателя. Нагрев производят незадолго до сварки. Существуют инструменты двух типов. И. с л. о. первого типа состоит из двух пластин небольшой массы с адсорбирующим ИК-лучи покрытием и рефлекторов. И. с л. о. второго типа состоит из компактной тонкой пластины, в каналах которой помещены трубчатые излучатели. Большая установочная мощность И. с л. о. по сравнению с нагревательным инструментом с омическим нагревателем компенсируется более коротким временем включения (1/3 времени включения нагревательного инструмента с омическим нагревателем) (см. рис.).

Рис. Схема инструмента с лучевым обогревом (а — продольное, б — поперечное сечение):
1 — излучатели; 2 — пластины с адсорбирующим покрытием; 3 — рефлекторы.
Высокая производственная готовность И. с л. о. позволяет использовать его в автоматизированных установках для сварки нагретым инструментом.
- Войдите или зарегистрируйтесь, чтобы получить возможность отправлять комментарии