ДЕРЖАТЕЛЬ-ГОРЕЛКА ПОЛУАВТОМАТА
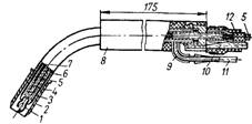
ДЕРЖАТЕЛЬ-ГОРЕЛКА ПОЛУАВТОМАТА, газоэлектрическая горелка полуавтомата — часть полуавтомата для сварки в защитных газах, перемещаемая в процессе сварки вручную. Имеет устройство для крепления электрода и подвода к нему тока, канал для подачи в зону сварки защитного газа, а часто и устройство для подачи присадочной проволоки (в полуавтоматах для сварки неплавящимся электродом) или канал для подачи плавящегося проволочного электрода и газа (в полуавтоматах для сварки плавящимся электродом). На рис. 1 показан держатель-горелка полуавтомата для сварки вольфрамовым электродом с присадочной проволокой. Вольфрамовый электрод 2 крепится в головке держателя 1, а по втулке 4 и гибкому шлангу 5 поступает присадочная проволока 3, подаваемая механизмом подачи (не показан). На рис. 2 дана схема держателя-горелки полуавтомата для сварки плавящимся электродом: 1 — наконечник; 2 — сопло; 3 — отверстие для выхода газа; 4 — газовый канал; 5 — спираль стальная; 6 — наружная трубка мундштука; 7 — резиновая изоляция; 8 — рукоятка; 9 — зажим; 10 — сварочный провод; 11 — газопровод; 12 — оплетка.

Рис. 1.

Рис. 2.
- Войдите или зарегистрируйтесь, чтобы получить возможность отправлять комментарии